菜单

審核日誌

審計日誌是時間順序的記錄。員工對功能和當中部份的所有活動和更改,都能在從中找到,包括下載檔案、建立用戶帳號或刪除電話號碼。

審計日誌可以作組織的跟踪活動情況之用,提高服務安全性。身為員工管理員,你可以實時查看審核日誌中的數據,或將其匯出到加密檔案中,以便分析活動、識別任何異常或差異,並立即改善。

查看審核日誌

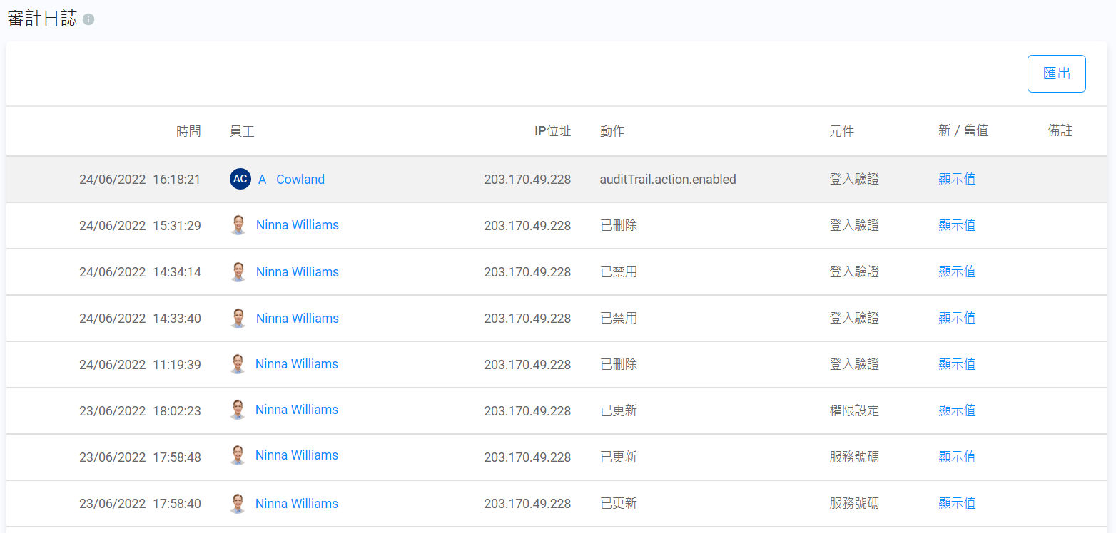
查看審核日誌:

  • 導航到管理>安全>審核日誌
  • 在審核日誌頁面,你可以查看以下資料:
    • **時間:**更改日期和時間。
    • **員工:**更改的員工。
    • **IP 位址:**員工作更改時的IP位址。
    • **動作:**更改的類別,包括:已創建、已刪除、已下載、啟用或已更新。
    • 元件: 更改的 CINNOX 功能。
    • 新/舊值:元件更改的詳細資料,包括:元件的先前值和新值(如果適用)。點擊顯示值以查看上述詳細資料。
    • **備註:**作出更改的員工,其加入的備註。

除了新/舊值備註,你可以按升序或降序,對所有審核日誌的資料排序。

匯出審核日誌

你可以將審核日誌匯出,下載到你的電腦中。 下載的CEF文件是加密的; 你需要一個解密金鑰才能查看它。

有關獲取加密金鑰的資料,請參閱本指南的數據加密部份。

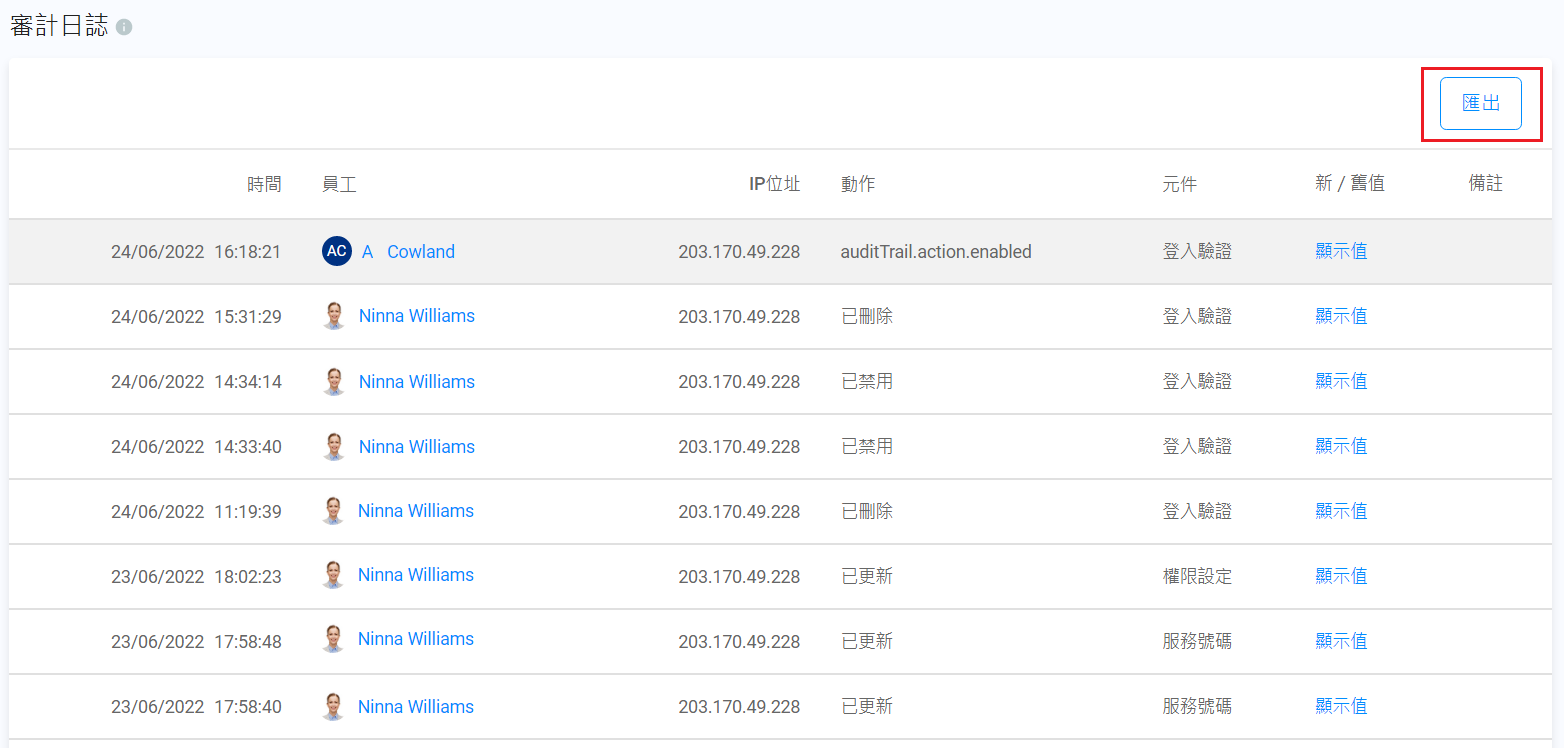
匯出審核日誌:

  • 導航到管理>安全>審核日誌,然後點擊頁面右上角的匯出按鈕。
  • 選擇匯出的日期範圍,然後點擊匯出。 該檔案將被下載,並儲存到你電腦預設的下載文件夾中。

Updated 5 months ago


上一个
數據加密
下一个
管理
最近修改: 2025-12-04